-
-
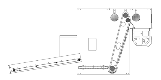
开包机
- 型号CYLKB
- 品牌昌源隆
开松各种捆包纤维,按比例由电子秤进行称量,均匀平铺在混棉帘上。
开包机:
?用途特点:开松各种等级捆包纤维,定量喂入,多台复合使用可按比例混合不同纤维,自动控制调节范围大,使不同纤维配比准确,混合均匀,使用新式电子称重结构,省人工。

(上图为结构示意图,不完全与实际设备相同)
?工作原理:开松各种等级捆包纤维,定量喂入,使不同纤维配比准确,混合均匀,供下一道工序使用。
?技术参数:
型号 | CYLKB-1200 | CYLKB-1300 | CYLKB-1400 | CYLKB-1600 |
宽幅 | 1200mm | 1300mm | 1400mm | 1600mm |
产量 | 250kg/h | 300kg/h | 350kg/h | 500kg/h |
功率 | 3.75kw | |||
?机构特点:
(1)机架由优质钢板焊接而成,结构稳固。
(2)使用新式电子称重结构,省人工。
?安全防护:
(1)所有传动部位均有?;ふ直;?。
(2)电器部分设有过载?;?、过电流?;?、短路?;?、紧急停车按钮。
(3)必要部位设有警告标记。
- 上一条烫光机
- 下一条棉箱+集棉箱+梳理机
