-
-
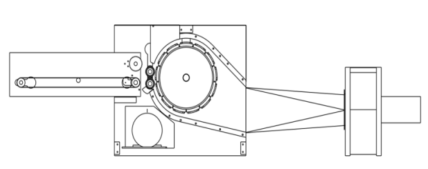
开松机
- 型号CYLKS
- 品牌昌源隆
本机由专用合金针布开松,风机输送,喂入由给棉机上光电控制??晒踅卸财胶獯?,带有输送风道,全封闭可减少清机次数。
开松机:本机开松效果好,不易缠棉,产量高。把纤维、原料经喂入平帘输送至喂入罗拉,再由开松辊高速开松后,经输棉风机以适量的风量输送纤维原料供后道工作使用;并配备桥式除铁装备。

(上图为结构示意图,不完全与实际设备相同)
?工作原理:各种不同纤维被放入水平输送帘,经压棉辊和对辊罗拉喂入,经高速打手开松后由输棉风机送到下道工序。
?用途特点:多种纤维混合喂入,初步开松混合,同时除金属除杂质。
?技术参数:
工作宽度:400mm-2200mm
生产能力:≤500kg/h
开松辊形式:钉板/针布式
开松辊直径:Φ400mm/Φ500mm/Φ600mm
喂入电机:1.5KW
开松辊电机功率:5.5/7.5/11KW
风机电机:4/7.5KW
?机构特点:
(1)两侧机架由优质钢板焊接而成,结构稳固。
(2)输送帘采用紧密木帘或优质皮帘,由沟槽罗拉喂入。
(3)开松辊采用优质无缝钢管经精加工和校平衡后,螺旋植入羊角齿制成,具有开松能力强,不损伤纤维的特点。
(4)储棉箱带强磁铁除金属装置,输棉风机连接PVC输棉管道,光滑封闭,不挂棉不漏风。
(5)喂入帘运行由棉箱的光电开关联动控制,自动控制喂入量。
?安全防护:
(1)所有传动部位均有?;ふ直;?。
(2)电器部分设有过载?;?、过电流?;?、短路?;?、紧急停车按钮。
(3)机器发生堵塞故障时,能够自动停车并启动警报系统,手动反转按钮解决堵塞。
(4)必要部位设有警告标记。

