-
-
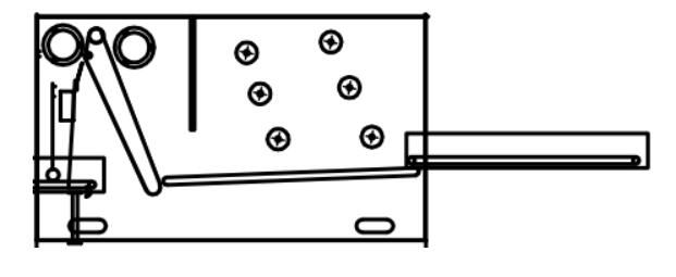
混料给棉机
- 型号CYLHL
- 品牌昌源隆
混料给棉机输送帘将原料送入,并由六个混料辊和输送帘组成一个循环体系,把原料里的块状打开并把两种或两种以上的原料搅拌均匀。
混料给棉机:对多种纤维进行混料均匀,达到连续生产的目的。

(上图为结构示意图,不完全与实际设备相同)
?工作原理:输送帘将原料送入,并由六个混料辊和输送帘组成一个循环体系,把原料里的块状打开并把两种或两种以上的原料搅拌均匀。
?用途特点:多种纤维混合喂入,初步开松混合,同时除金属除杂质。
?技术参数:
工作宽度:100mm-3200mm
生产能力:≤500kg/h
输送帘及传动电机:1.5KW
?机构特点:
(1)两侧机架由优质钢板焊接而成,中间由型钢支撑,结构稳固。
(2)采用旋转分离装置,使纤维能均匀分布在仓内。
(3)储棉帘采用镀锌板数控加工,内壁光滑。
(4)打手采用角钉结构。
?安全防护:
(1)所有传动部位均有?;ふ直;?。
(2)电器部分设有过载?;?、过电流?;?、短路?;?、紧急停车按钮。
(3)必要部位设有警告标记。

